A&T View:以太坊质押可提取价值中的投资机会
01摘要
TL; DR:
- 来源上,ETH Staking Extractable Value可以分为Consensus Income、Execution Income和MEV三类;流向上,ETH Staking Extractable Value可以分为Validator Captured Value(Validator Staking Income)和Validator Uncaptured Value两类。
- Validator Infra Provider、Pooled Staking Protocol、CEX和Staker能够从Validator Staking Income中分一杯羹;Searcher、Block Builder能够从Validator Uncaptured Value中分一杯羹。
- Validator Infra Provider、Stake Pool、Products based on DVT和External MEV Market中有值得关注的投资机会。
02正文
自The Merge发生以来,PoS共识机制下的Ethereum已经稳健运行了近三个月,ETH 2.0成功迈出了关键的第一步。
那么共识机制的转变带了哪些机会?
如果你想先了解ETH Staking Ecosystem的全貌,推荐阅读Staking Rewards (A&T Capital Portfolio)的详细报告。https://newsletter.stakingrewards.com/p/mapping-the-ethereum-staking-ecosystem,《Mapping the Ethereum Staking Ecosystem》

让我们把目光聚焦在ETH Staking Extractable Value的直接利益相关者,将上图简化,得到ETH Staking Extractable Value Chain。

Staking Extractable Value是如何构成的?
两个角度:
- Staking Extractable Value=Consensus Income + Execution Income + MEV
- Staking Extractable Value=Validator Captured Value + Validator Uncaptured Value
从来源上,分为三类:
- Consensus Income: 来自网络新增发的ETH Token,是共识机制对诚实Validator的奖励
- Execution Income:来自Gas Fee中的Tip部分,是用户支付给帮助打包其交易上链的Proposer/Builder的小费
- MEV: 来自执行某些特定交易产生的经济利益,形式最为多样,大多属于套利利润
从流向上,分为两类:
- Validator Captured Value(Validator Staking Income):被分配给Validator,作为维护ETH网络安全、参与区块建立与共识所获得的经济激励
- Validator Uncaptured Value: 被ExternalMEV Market其他参与者瓜分,表现为MEV加上External Block’s Execution Income再减去分给Validator的MEV Rewards
Validator Captured Value(Validator Staking Income)是如何构成的?
Validator Staking Income=Consensus Income + Local Block’s Execution Income + MEV Rewards
Validator Staking Income共有三种不同来源,分别是Consensus Income、Local Block’s Execution Income 和 MEV Rewards。
对于一个Validator来说,Consensus Income是最基本、稳定的收入;Local Block’s Execution Income 和 MEV Rewards则相对偶然,只有当Validator被选为某个新区块的Proposer时才能获得。
Proposer具体获得何种收入,则取决于不同情况。在 Local Block Building的情况下,Proposer获得Execution Income;在External Block Building的情况下,Block Builder获得Execution Income,Proposer获得Block Builder支付的MEV Rewards。

- Consensus Income:来自网络新增发的ETH Token,是共识机制对诚实Validator的奖励,可以细分为三类:
- Proposer rewards: 当一个Validator被选中成为Proposer时,如果它提议的新区块被网络共识,它将因为网络贡献正确的新区块而获得Proposer rewards
- Attestor rewards: 未被选为Proposer的Validator可以验证Proposer提议的新区块是否有误,参与验证的Validator可以获得Attestor rewards
- Whistleblower rewards: 如果Proposer提议的区块中包含能够证明其他Validator违反共识规则的证据,它将获得Whistleblower rewards
- Local Block’s Execution Income:来自Gas Fee中的Tip部分,是用户支付给帮助打包其交易上链的Proposer/Builder的小费。在 Local Block Building的情况下,Proposer (Validator)自行建设区块,并能够获得该区块中全部的Tip,这部分收入被称为Local Block’s Execution Income。
- MEV Rewards:来自Block Builder支付给Proposer的费用,本质上是MEV的一部分。在 External Block Building的情况下,Proposer (Validator)提议Block Builder建设的区块,Block Builder支付给Proposer的费用被称为MEV Rewards(Block Builder获得该区块的Execution Income)。这笔费用可能高于区块中全部的Tip(Block Builder额外补贴Proposer),也可能等于或低于区块中全部的Tip(Block Builder留存零利润或部分利润)。
注:EIP-1559后,ETH上每笔交易的Gas Fee被分为Base Fee和Tip。其中Base Fee会被燃烧,而Tip支付给该区块内的coinbase address(这一地址可以是Proposer的,也可以是Block Builder的)。
值得一提的是,目前Consensus Income仍无法提取,它被锁定在Validator在Beacon Chain的Balance中;而Execution Income和MEV Rewards可以被提取,因为它被转入了某个指定的账户中。
Validator Uncaptured Value是如何构成的?
Validator Uncaptured Value=MEV + External Block’s Execution Income - MEV Rewards
- MEV:来自执行某些特定交易产生的经济利益,形式最为多样,大多属于套利利
- External Block’s Execution Income:来自中Gas Fee里的Tip部分,是用户支付给帮助打包其交易上链的Builder的小费。在ExternalBlock Building的情况下,Builder将其建设的区块内的coinbaseaddress(用来收取tip的地址)设置为Builder的地址,所以Builder能够获得该区块中全部的Tip,
- MEV Rewards: 来自Block Builder支付给Proposer的费用,是MEV中被Proposer捕获的部分。
谁能从Staking Extractable Value中分一杯羹?
关于Validator Captured Value:
按Staker选择以何种方式质押讨论。按Ethereum官方说法,可以分为以下四类:
1.Solo Staking:Staker-100%
2.Staking as a Service:Staker-90~95%,Validator Infra Provider-5~10%
3.Pooled Staking:Staker-90%,Pooled Staking Protocol-5%,Validator Infra Provider-5%
4.Centralized Exchanges:Staker-85~95%,CEX-0~10%,Validator Infra Provider-5%

(StakePool包括Pooled StakingProtocol和CEX)
关于Validator Uncaptured Value:
目前,Validator Uncaptured Value被Searcher和Block Builder瓜分,Relay尚未从中提取价值。理论上,Relay是一个被信任的中继结构,作为撮合Block Builder和Proposer的市场,存在商业化的可能。
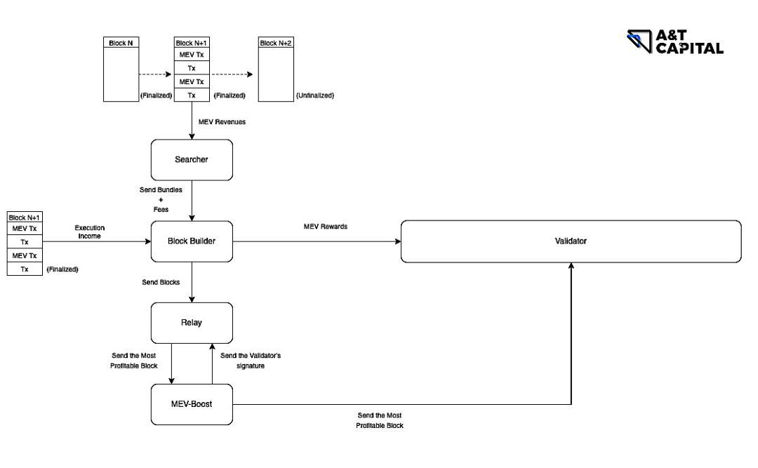
External MEV Market Architectures:

Searcher:
- 行为:将自己的MEV TXs插入一组TXs,形成Bundles发送给Builder
- 收入:MEV TXs被执行带来的收益(MEV)
- 成本:MEV TXs的Gas fee(Base fee+Tip)和付给Builder的费用
Block Builder:
- 行为:根据得到的Bundles和Mem Pool中的TXs组成Full Block,并将其发送给Proposer。其中,Full Block中的coinbase address(用来收取tip的地址)设置为Builder的地址,而Full Block中的最后一笔TX是Builder转账到Proposer的地址
- 收入:Full Block中的Tip和Searcher支付的费用
- 成本:付给Proposer的费用
Relay:
- 行为:接受众多Builders发送的FullBlocks,并将对Proposer最有利的FullBlock发送给Proposer
- 收入:尚未收取任何费用
- 成本:服务器运维成本
哪些方向有值得关注的投资机会?
- Validator Infra Provider
- Stake Pool
- Products based on DVT
- External MEV Market
Validator Captured Value是“浮在水面上的价值”,这个市场相对成熟,各利益相关者提取价值的比例也相对固定。
最显而易见的两个投资方向是Validator Infra Provider和Stake Pool。A&T Capital均有布局
投资逻辑可以参考我们之前的文章:
A&T Family: 独角兽企业InfStones完成新一轮6600万美元融资
A&T Family:流动性质押方案Meta Pool完成种子轮融资
不过,这绝非一个一成不变的市场,DVT(Distributed Validator Technology)的成熟和应用会成为新的“鲶鱼”。
DVT通过运行在不同硬件上的Node Operator共同承担一个Validator的职责,使得Validator更去中心化的同时避免硬件设备的单点故障。
基于DVT,可以实现不同形式的产品,并通过不同的路径实现商业化。SSV Network和Obol Network正是一组很好的例子。
SSV Network旨在建立一个撮合Staker与Node Operator的公开市场,Staker可以遴选不同的Node Operator同时为他们运维一个Validator,以防止单点故障;而Node Operator也有了一定冗余,能够更灵活地应对各类突发情况。
Obol Network目前则更像一套SaaS解决方案,且兼顾To C 和 To B。
Validator Uncaptured Value是“藏在水面下的价值”,由于涉及到External MEV Market(Off-chain)并没有那么透明。

MEV比想象中更重要。
MEV源于执行某些特殊交易产生的利润,形式复杂多样。理论上,链上交易越活跃,MEV的上限越高。有时,MEV会比Consensus Income + Execution Income更高。
MEV的总量是难以计量的(很难说MEV TXs的执行一共带来了多少利润)。但几乎可以肯定的是,MEV的总量要大于分配给Validator的MEV Rewards。

(https://www.rated.network/relays">Merge以来,External MEV Market已经向Validator分配了近六万枚ETH的奖励,而MEV的总量只会比这个数字更高。
值得肯定的是,Flashbots提出的MEV-Boost体系对保持Ethereum Validator的去中心化起到了促进作用。每一个Validator都能够通过MEV-Boost客户端接收各个Relay发送的Block,并遴选出最优的,而不需要再依附某个大型的质押池才能获得更高收入。
然而,目前的市场仍有一系列亟需解决的问题:
- 市场中有许多需要被信任的结构,存在审查风险
- BlockBuilder和Relay有集中化的趋势
在External MEV Market中,Searcher需要信任Builder,Builder需要信任Relay。而实际上Builder拥有审查Searcher’s Bundles的能力,Relay拥有审查Builder’s Block的能力。
例如,Flashbots Relay就不再提交包含Tornadao Cash交易的区块。
(source: https://twitter.com/nero_eth)
需要信任某一主体已经足够糟糕了,更糟糕的是被信任的主体越来越集中化。

(source:https://www.relayscan.io/overview">Relayscan.io的数据显示,过去一周内,前五大的Relay占据了超95%的份额,而前五大的Builder占据了超85%份额。

(source:https://www.relayscan.io/builder-profit">值得一提的是,有些Builder为了让自己建设的区块胜出,甚至在补贴Proposer(Builder付给Proposer的费用大于coinbase address中收到的Tip)。这一现象的可能原因是Builder本身也是Searcher,能够从特殊交易执行中获利。
External MEV Market中有投资机会
一个需要被信任、且集中化的市场不是我们希望看到的。能够优化External MEV Market的商业化解决方案会是值得关注的投资机会。
1.资讯内容不构成投资建议,投资者应独立决策并自行承担风险
2.本文版权归属原作所有,仅代表作者本人观点,不代表本站的观点或立场
您可能感兴趣
-
Taiko 技术栈已被 ENS 正式采用,为 Namechain 在以太坊主网上构建 ZK Rollup 扩容方案
Namechain 将利用 Taiko 率先在主网落地的预确认技术,把状态更新从“小时级”缩短到“秒级”,解决 ENS 多年来在 CCIP-Read 上遇到的关键性能瓶颈。以太坊生态中应用最广泛的域名
-
Arthur Hayes:重押 ZEC 是被高人点醒;最优秀的投资者要在脑内左右互搏本文来自:CounterParty TV编译|Odaily 星球日报 Ethan 编者按:如果你想知道一个真正“活在市场里的人”如何判断当下的加密世界,Arthur Hayes 值得倾听。 在加密市场
-
对话 Arthur Hayes:Zcash 是最后的 1000 倍机会,所有操作只为积累更多比特币
“我相信某个资产的长期潜力,但短期内我的目标是最大化比特币的持有量。”整理 & 编译:深潮TechFlow嘉宾:Arthur Hayes主持人:Michael Jerome播客源:threadguy原
-
以太坊阿根廷开发者大会:迈向技术与应用的新十年
以太坊在开发者大会上清晰铺陈出未来十年的重点方向:扩容、安全、隐私、机构采用。撰文:Sanqing,Foresight News开幕式:从第一张网页到以太坊世界博览会11 月 17 日 至 22 日,
-
以太坊基金会联合执行董事 Hsiao-Wei Wang:以太坊是一架梯子,我们会一起往上爬
Hsiao-Wei Wang 在 Devconnect ARG 演讲全文。演讲者:Hsiao-Wei Wang (Co-Executive Directors of Ethereum Foundati
-
比特币的「中年危机」:元老级 Crypto 如何赢得 Z 世代青睐?
比特币面临着新的生存威胁,这种威胁并非来自华盛顿、北京或超级计算机,而是来自几代人的冷漠。撰文:Christina Comben编译:Saoirse,Foresight News比特币诞生之初,只是个
-
这个熊市里还在排队上市的加密项目们加密与传统金融的交汇速度,比所有人想象得都要快。交易平台收购基础设施、永续合约平台上线股票指数、稳定币跑进支付网络、贝莱德的 BUIDL 基金把链上分红变成日常操作,甚至连洲际交易平台都愿意为一个预测
-
Bitget 每日早报:Fidelity Solana 现货 ETF 今晚美东市场上线,全球上市公司上周净买入 BTC 超 8.47 亿美元
美股三大指数集体收跌。作者:Bitget今日前瞻1、Fidelity Solana现货ETF($FSOL)将于 2025年11月18日晚间在美东市场正式上线,追踪Fidelity Solana参考指数
- 成交量排行
- 币种热搜榜
OFFICIAL TRUMP
泰达币
比特币
以太坊
USD Coin
Solana
瑞波币
First Digital USD
币安币
狗狗币
大零币
莱特币
Uniswap
wETH
ChainLink
FIL
CFX
ZEN
OKB
ICP
CAKE
AR
ETC
SHIB
DOT
DYDX